传统手术室管理存在人员进出混乱、物品调度低效、感染控制难等问题,影响运营效率与安全。通过引入智能化、无感化管理系统,整合物联网技术,可实现对人员权限、衣鞋发放回收、柜体分配的自动化与精准追溯。该模式优化了流程,提升了效率,降低了感染风险与运营成本,实现统一平台下的高效便捷管理。
本系统是一套智能化手术室综合管理平台。它运用人脸识别技术,实现人员安全准入与行为监控,确保洁净管理。系统可自动识别医护着装规范,并建立手术衣物的闭环追溯体系,保障卫生安全。通过全面的数据统计与分析,系统为管理决策提供依据,助力精准培训与能力提升。最终,本系统旨在减少人工操作,优化工作流程,显著提高手术室运营效率,降低管理成本与医疗风险。
医院,医疗相关管理中心
人员信息管理

支持人员信息的增删改查、多条件搜索、组织架构筛选及导入导出,并需上传人脸照片。
智能卡管理

查看并筛选已登记的智能卡信息列表,同时提供通过读卡器获取卡号以新增或修改智能卡与人员、门禁的绑定关系。此外,还可查看智能卡的详细授权信息。
门禁设备管理


本系统支持门禁设备信息的查看、筛选及人员信息与人脸照片的精准下发,并能实时接收和记录设备端的详细认证信息。
鞋柜管理


系统可实时查看鞋柜使用状态并支持远程开箱,方便医护人员存取物品;同时提供详细使用记录,便于掌握使用频率及人员信息。
衣柜管理


系统可直观查看衣柜状态并支持远程开箱,同时提供详细使用记录以助力手术室科学管理。
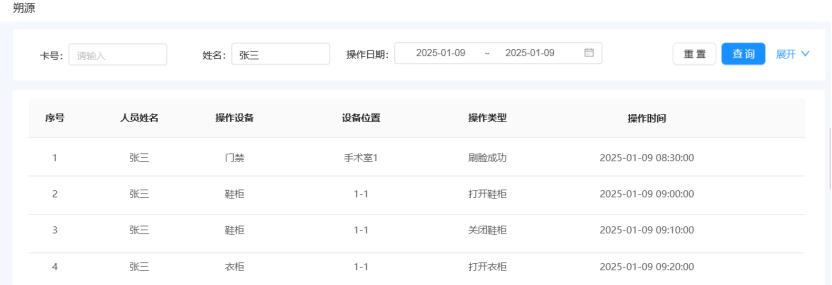
溯源管理

人员行为溯源可精准记录医护人员在手术室的进出时间、领取衣物操作流程等,实现对人员行为的全流程回溯。
物品追溯则能对衣物的流转环节进行跟踪,确保其来源与去向清晰可查,为医疗安全与管理提供有力保障。
告警信息

设备告警功能实时监测鞋柜、衣柜、门禁等设备状态,一旦出现异常,如设备故障、通信中断等,系统立即发出警报。
行为告警则对人员行为进行监控,当出现衣物遗失等违规行为时,及时预警,助力管理人员快速响应并处理问题。
贵州省人民医院
深圳和正医院